信息来源: 新华日报财经
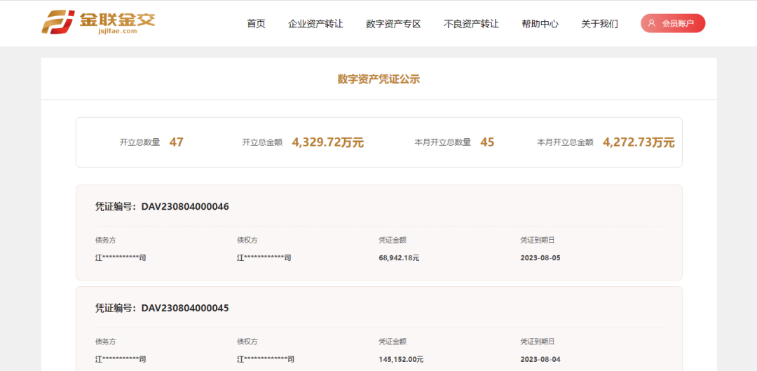
“有了这个数字资产凭证,我们就给供应商再吃一颗‘定心丸’,货款会按照合同约定时间节点到账。”在过去的半个月里,苏美达纺织有限公司(下称“苏美达纺织”)财务总监韩露和同事们,加班加点,将47张、总额超4300多万元的应付账款票据上传至江苏金联金融资产交易中心(下称“金联金交”)的数字资产凭证专区,债务人、债权人、尚未履行的债务金额、债务到期日、合同等一目了然。
数字资产凭证是一项基于区块链技术的金融产品创新,主要指将应收账款等企业资产数字化后,在地方金融资产交易平台进行登记,具备法律效力。相比于电子债权凭证,数字资产凭证具有更多的数据维度,且具有不可篡改、可转让、可增信等价值,数字资产持证人可登录查询自身的数字资产凭证。
金联金交成立于2021年底,作为江苏唯一的地方金融资产交易平台,主要为企业持有的应收账款债权资产以及金融机构持有的金融不良资产提供挂牌转让、登记结算等全生命周期的数字化金融服务。在经过一年多的技术研发后,金联金交利用其股东开鑫科技研发的“适用于交易平台的数据处理方式”技术,在确保安全性与准确性的基础上,创新推出了数字资产凭证这一业务。今年4月份,“适用于交易平台的数据处理方式”获得国家发明专利。

苏美达纺织,是第一个尝试该业务的公司。“双方现有技术储备足以支撑,于是一拍即合,用了三个月进行技术端口的对接。”金联金交董事长、总经理周治翰说,苏美达纺织在前端做好了供应链数字化管理系统,金联金交负责数字资产凭证的开立、验证和流转登记,两者合并在供应链体系服务上形成闭环。这样一来,我们联合推动了资金链与产业链的深度融合,未来还将以知识产权为抓手引入创新链和人才链,真正实现“四链融合”。
对于苏美达纺织来说,迈出这一步是对自身的一大挑战。“这意味着,公司把对供应商的承诺、公司的信誉与品牌放到了第三方公开平台,从内部行为变为市场公开行为,接受市场监督。”韩露说。
苏美达纺织是国机集团所属苏美达集团的核心成员,一直专业专注于家用纺织品和家居用品领域,已从一家单纯的外贸公司,发展成为集设计研发、实业制造、商贸服务和自主品牌建设为一体的中大型纺织制造服务型公司,年营收规模达30亿元,在毯子、被子等家用纺织主流产品的细分领域形成了较强的竞争优势。
纺织是一个国内外市场高度竞争的行业。苏美达纺织根据集团统一战略,率先探索数字化转型,打造数字化赋能的产业链和供应链,夯实差异化竞争优势。
作为“链主”,苏美达纺织的上游供应商有1000多家,绝大多数是民营中小企业。多年以来,行业惯例是上游供应商的货款何时到账,取决于业务经理何时将发票递交完成审批流程并交由财务付款。为保障供应商们的利益,确保账款按期到账,三年前,苏美达纺织建立了供应链数字化管理系统,核心是提前明确付款账期,将付款审批流程前置,到期自动支付,确保不因个人因素影响按期付款,供应商也可登录这一系统查询进度。

南通新锦江印染有限公司是苏美达纺织的上游供应商。公司总经理蔡文珠跟苏美达纺织打交道多年。“自从加入了苏美达纺织的供应链数字化管理系统后,从签订单到最后付款,全部在线上,我也不需要花时间专门盯款项。”
既然已有供应链数字化管理系统,并且得到了供应商的认可,那为何还要借助第三方平台,将应付账款变成数字资产凭证,且进行公开登记确权呢?
韩露说,现有系统仅是公司和供应商之间运行的内部系统,仅仅是彼此的一种承诺,虽然解决了货款按期到账,却无法帮助更多的供应商解决融资难题。“只有把这种内部的承诺变成具有强制约束力的行为,才能更好服务供应商。”他分析说,从内部来说,作为央企和产业链“链主”,我们有责任有义务帮助更多民营中小企业。从外部来说,行业竞争正在加剧,尤其是国际上的产业转移竞争,帮上游供应商解决难题,其实就是帮公司稳住产业链,进而稳住国内国际两个市场。

当前,我国纺织业在产业链配套、劳动力素质、产品质量等方面仍具有一定优势。“要守住现有的优势,就必须整条产业链一起强起来。”韩露说,如何更好赋能民营企业,首先要让钱流动起来,不因账期而影响企业的生产运营。其次是降低整体产业链的成本,包括融资成本,然后是通过持续提高产品质量,带动上游供应商转型。
数字资产凭证,解决了应收账款的线上确权难题。在金联金交平台,银行等金融机构可以通过数字资产凭证对企业进行评估,而持有人也可以将自己的凭证用来变现,减少资金压力。
周治翰认为,看似是一张小小的数字资产凭证,其实是产业链数字化转型升级的一部分,以资金链数字化带动产业链智能化,降低成本,提高效能,从而带动竞争力提升。
韩露告诉记者,计划在今年底为50%的供应商提供数字资产凭证业务,未来会逐步扩展,为80%左右的供应商提供这项服务。“通过数字化确权,未来可以逐步引入更多金融机构,以及央企的低成本资金,构建更为完善的供应链金融生态,降低民营中小企业的融资成本。”他说,产品质量比别人好,效率比别人高,价格还比别人低,那我们的产业链优势就牢牢稳住了。

得知数字资产凭证的消息后,蔡文珠很高兴。“每年春节前后,是公司的接单旺季,大批量订单意味着要购买大量的原材料,加紧生产,确保5月份交付。这中间短短几个月,就需要大笔资金。“如果利用数字资产凭证,公司未来能够降低融资成本,生产成本也会随之降低,同时产品的竞争力也提升了。”
新华日报·财经记者 赵伟莉 何钰